因全資子公司合同糾紛,承擔連帶清償責任的浙江零跑科技股份有限公司(證券簡稱“零跑汽車”,09863.HK)及公司法定代表人朱江明被廣州法院采取限制消費措施。對此,9月28日,零跑汽車董事長朱江明通過社交媒體回應稱,3天的“限高”于當日解除。截至記者發稿,天眼查數據尚未顯示“限高令”解除信息。
這是零跑汽車首次被“限高”。天眼查數據顯示,此次限制消費令申請人為“廣州首汽汽車服務有限公司”(簡稱“廣州首汽”),立案日期為2025年6月17日,發布日期為2025年9月25日,案號為(2025)粵0111執13502號,執行法院為“廣州市白云區人民法院”。
廣州首汽成立于2011年4月19日,注冊資本300萬元人民幣,是一家以從事租賃業為主的企業,首汽租賃有限公司(簡稱“首汽租賃”)持有其100%股權。首汽租賃第一大股東為北京首汽(集團)股份有限公司,后者持有其69.731%股權。
天眼查顯示,由于零跑汽車全資子公司凌跑汽車商貿有限公司(簡稱“凌跑商貿”)與廣州首汽存在合同糾紛,因零跑汽車對凌跑商貿的上述債務承擔連帶清償責任,且零跑汽車未按執行通知書指定的期間履行生效法律文書確定的給付義務,被廣州市白云區人民法院依照《中華人民共和國民事訴訟法》第二百六十六條和《最高人民法院關于限制被執行人高消費及有關消費的若干規定》第一條、第三條的規定,對其采取限制消費措施,限制其公司及公司法定代表人朱江明不得實施以下高消費及非生活和工作必需的消費行為。
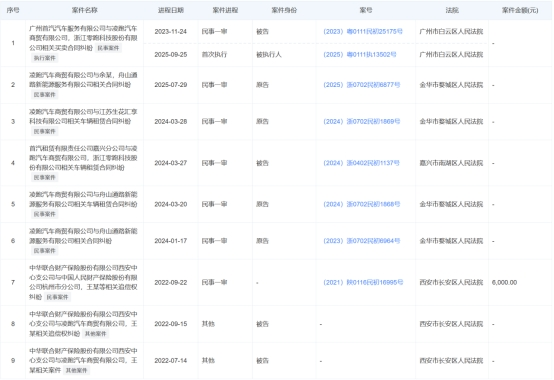
凌跑商貿成立于2020年7月23日,注冊資本5000萬元,注冊地點為中國金華市,員工人數為0,零跑汽車持有其100%股權。天眼查顯示,凌跑商貿共有12條法律訴訟記錄,其中以“被告身份”的司法案件共有5宗。33.33%的案件案由為“車輛租賃合同糾紛”。零跑汽車2024年度報告顯示,凌跑商貿主要業務是在中國銷售電動汽車和提供售后服務。

圖:凌跑商貿部分司法案件 資料來源:天眼查(截至2025年9月28日)
9月28日,朱江明通過其社交媒體表示:“3天的‘限高’今天總算解除了,這次風波也暴露了我們團隊的一些不足,能力還需要進一步提升,這次事件也更加堅定了我對零跑的信心!不經歷風雨,不能見彩虹,經營企業真的不容易,需要社會各界更多的督促和支持,感謝領導和朋友們大家的關心!謝謝大家!”


国产精品清高在线